A Yamaha registou duas patentes diferentes de uma maxi-scooter TMAX que apresenta um novo sistema cinemático híbrido, combinando o motor de combustão com um motor elétrico.
As informações ainda são escassas, mas o aspeto exterior é muito semelhante à geração atual da TMAX. Além disso, tudo aponta para que a tecnologia híbrida ainda esteja num estágio de desenvolvimento.
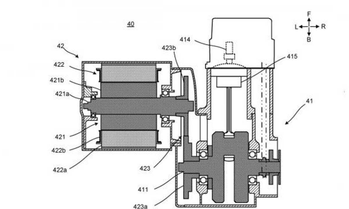
As primeiras patentes mostram diretamente o motor de combustão interna (ICE) e o motor elétrico. A ligação direta entre o motor elétrico e a unidade térmica permite que o sistema de transmissão convencional da moto seja utilizado, garantindo ainda que o seu desenvolvimento seja o mais económico possível.
A segunda patente mostra que o sistema de acionamento híbrido é montado no braço oscilante e no sistema de transmissão. Esta segunda solução significa que os dois motores podem funcionar de forma independente, no entanto este sistema é um pouco mais complexo.

