Bateria externa no tejadilho do carro aumenta autonomia elétrica

A Ford registou a patente de um novo equipamento para solucionar os problemas de autonomia em veículos eletrificados.

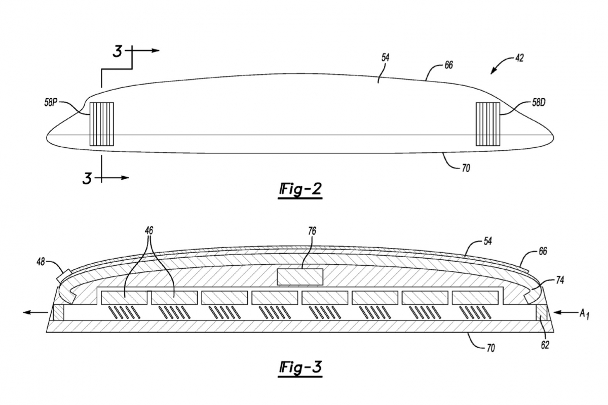
Trata-se de uma bateria externa, do tipo “power bank”, mas em formato gigante para ocupar toda a superfície do tejadilho do carro, funcionando como carregador de reserva.

De acordo com a Ford, este item poderia incorporar a lista de acessórios da marca da oval azul ou ficar disponível para alugar consoante as necessidades, nomeadamente em férias, expedições ou todo o tipo de deslocações mais longas, sem acesso a pontos de carregamento.

A ideia da Ford é desenvolver e comercializar um sistema modular e compatível com diferentes modelos de veículos elétricos ou híbridos plug-in, simples de instalar e de substituir. As unidades são empilhadas de modo a proporcionar maior ou menor capacidade.

A patente submetida fala das vantagens do sistema como solução para estender a autonomia, mas não oferece respostas às questões do aumento do peso e volumetria dos veículos ou a alteração ao seu centro de gravidade, decisivo para a dinâmica do comportamento.