Depois dos Tesla e do Toyota elétrico bZ4X, também os BMW poderão passar a estar equipados com volantes do tipo manche de avião.
Indiferente ao coro de críticas em torno do modelo Yoke apresentado pela marca de Elon Musk, a marca alemã registou uma patente de um volante que segue os mesmos princípios. E até acrescenta complexidade…
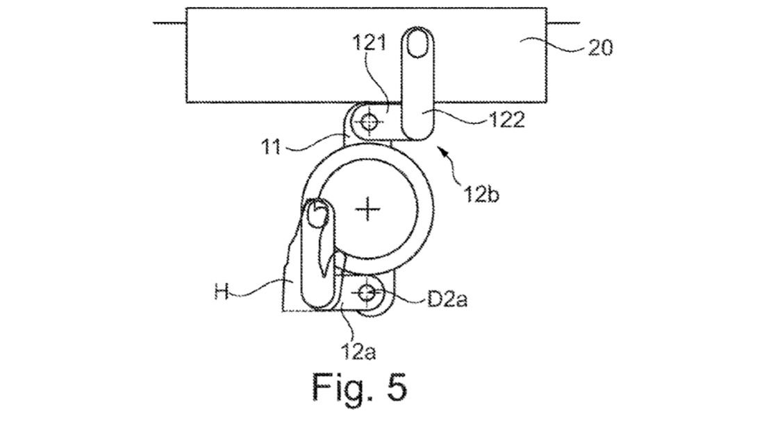
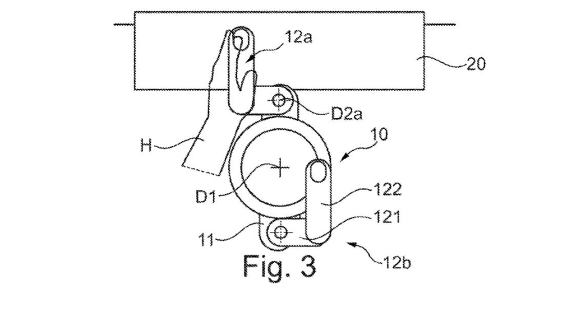
O documento registado no United States Patent and Trademark Office descreve um equipamento muito compacto e com funções retráteis, para permitir a sua utilização com apenas uma mão, e um desenho básico em “U”, com a possibilidade de fazer rodar as extremidades, de forma independente do elemento central, que parece manter-se fixo, mesmo em curva.
Antes, a BMW já tinha submetido um outro pedido de patente, registando um volante para os seus futuros autónomos, que se destaca pela capacidade de mudar de forma, podendo alterar entre o convencional formato circular e o tipo retangular, através de pequenas dobradiças no aro.
De acordo com a descrição, este volante da BMW modificaria o seu formato em função do tipo de utilização, assumindo um formato mais compacto sempre que o condutor ativa o modo autónomo. No momento em que se pretende selecionar o modo manual, o volante voltará ao formato circular, para um manuseamento mais intuitivo e seguro.

